[1220x2000] 110trobvod.jpg

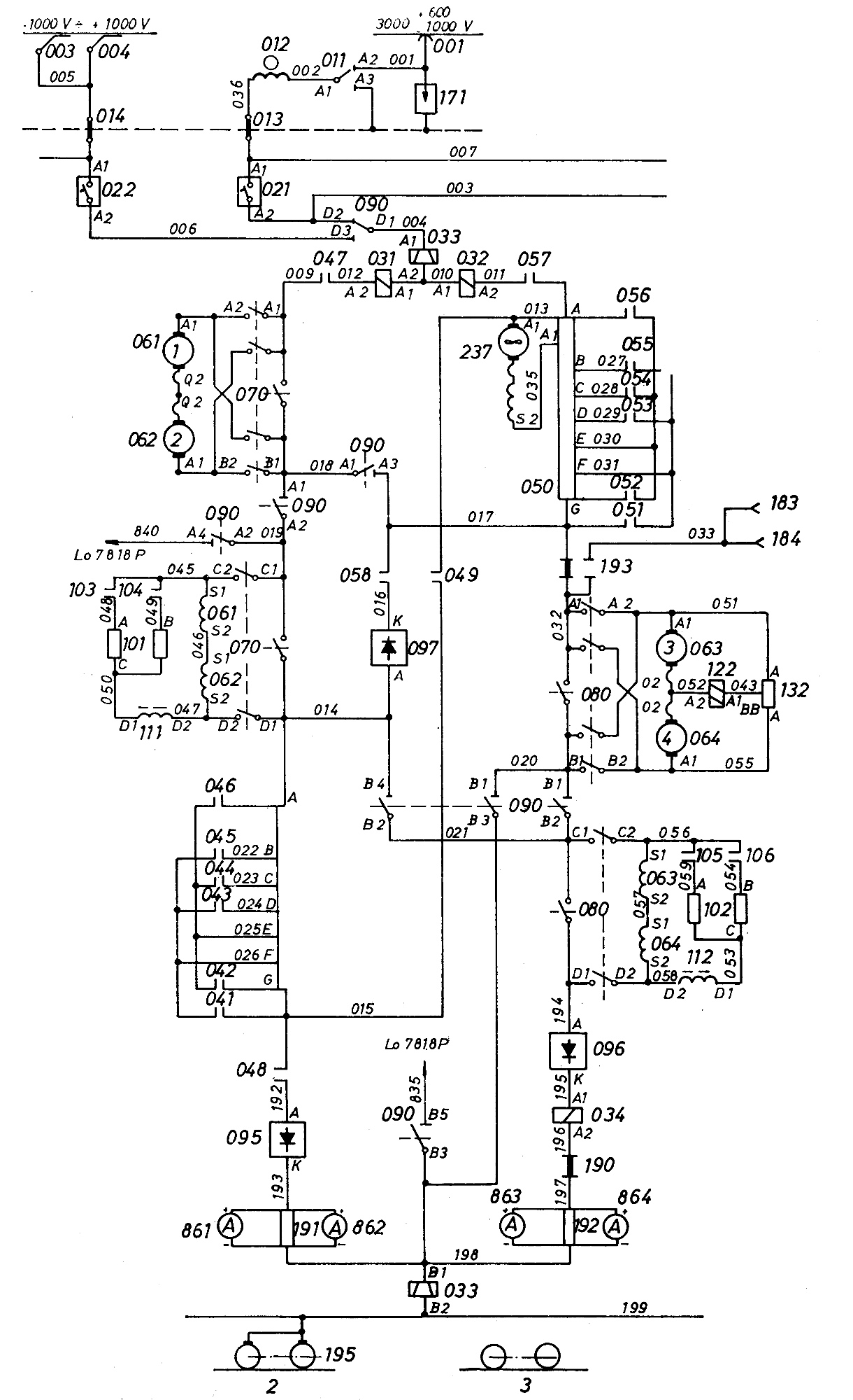
Schéma trakčního obvodu lokomotivy řady E458.0 (později 110).

Sbírka:
Rosťa Kolmačka